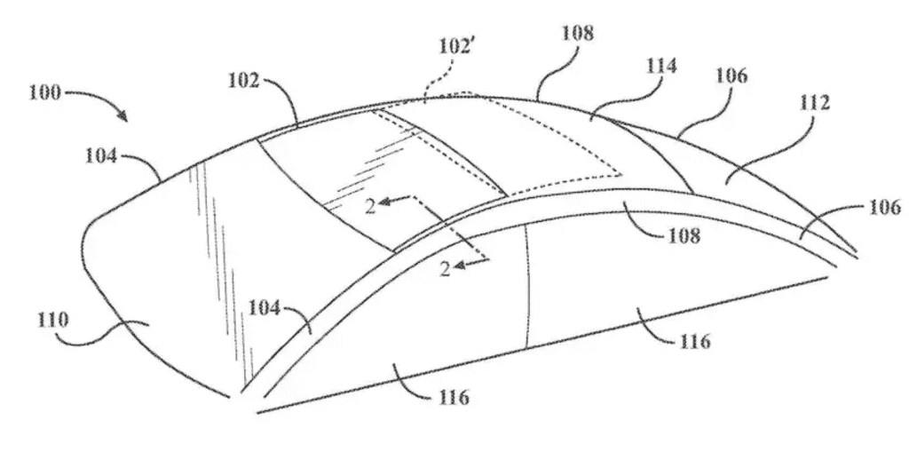
Apple, like other companies, regularly sends in patents which reveals the tech and direction they’re planning to go with regarding their products and services. For the upcoming Apple Car, one of the features just might very well be a special sunroof system.
The patented sunroof is made of variable opacity glass, which means the driver or user has the ability to adjust its transparency. As detailed, the sunroof can also open or close along with the side windows, a departure from traditional sunroofs in other vehicles.


With the technology, the driver or user can opt to allow sunlight or natural light sources into the vehicle via adjustments. Although it isn’t mentioned, the sunroof opening mechanism may be controlled via Siri or through CarPlay.
The patent cements rumors regarding Apple creating its own self-driving car. It’s estimated that launch is still three to four years away and continues discussing potential partnerships with other companies.











