Apple is reportedly working on a periscope zoom lens for its next iPhone. A patent has been revealed which details plans for such a lens. It states that the lens will also help in improving optical image stabilization (OIS).
The patent application reads, “The advent of small, mobile multipurpose devices such as smartphones and tablet or pad devices has resulted in a need for high-resolution, small form factor cameras that are lightweight, compact, and capable of capturing high resolution, high quality images at low F-numbers for integration in the devices.”

Higher expectations from customers
The application also adds that, because of the lack of space in phones, the “conventional” camera technology used in smartphones is largely inferior to high-end full fledged cameras. Also stated is the “increasing” expectation people have from smartphone camera quality – high megapixel count, larger pixel size, and more. The tricky part is apparently to improve quality while making the module small enough to fit into a smartphone.

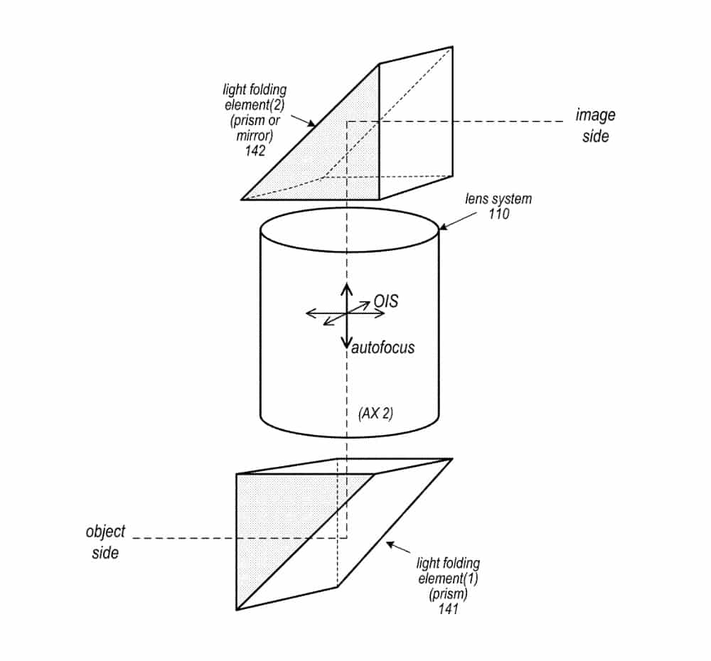
“The camera may include an actuator component configured to move the lens system,” it says, along with “two light folding elements (eg two prisms, or one prism and a mirror.”) As well as the zoom function that a periscope lens is expected to give, this particular configuration could also “provide optical image stabilization (OIS) functionality for the camera.”
Apple is expected to unveil the next flagship iPhones in September or October this year. Usually, the company unveils new upgraded flagship iPhones in September but last year, held the iPhone event in October due to supply chains being affected by the ongoing coronavirus pandemic. It is unclear whether the company will go back to announcing new iPhones in September or will continue with the new launch month as October.
The next flagship iPhone is expected to pack TouchID as an in-screen fingerprint reader alongside FaceID.












