The number of devices people carry with themselves is increasing and it looks like the number will increase even further. Apple wants to speed up the process of accessing all devices by removing the process of authenticating (logging in) every single device separately.
Apple is planning to add a feature to its upcoming AR glasses which will use proximity sensors to keep the nearby devices unlocked automatically. The company has long been rumoured to be working on building a pair of AR glasses and the current reports suggest a 2021 release at the earliest.

A seamless process of unlocking
The Cupertino company has previously released TouchID and FaceID – both of which were game changers in the industry and they have certainly helped improve the process of unlocking devices. The time required to unlock electronic devices has gone down significantly and the process is so seamless sometimes that it is barely noticeable.

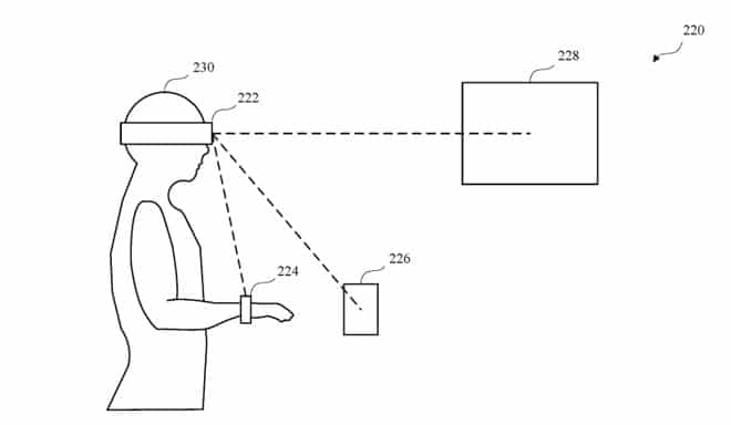
Apple has now filed a patent which is titled “Authenticated Device Assisted User Authentication” and it was published by the US Patent and Trademark Office on 27th of February, 2020. The patent showcases a scenario where a user is wearing a headset (a 360 band around the head – eye level) which appears to be actively looking for devices in a nearby proximity.
The technology does raise some questions like what if someone elses iPhone or iPad is brought close and it gets unlocked automatically. That situation may never arise actually as the “unlocking devices based on proximity” technology may only unlock devices that are using the same Apple accounts.
The AR glasses or the headset which may also be called “a head mounted device” will probably require the user to authenticate themselves or could use iris recognition technology. After which, every device that comes to a close proximity could very well be unlocked automically.












