Apple has patented a new way to pack batteries inside its devices such as iPhones, MacBooks, and iPads. The company states that by using a metal housing, it will be able to increase the battery life by a decent margin. The tech industry has been promising new types of battery technologies that could substantially improve battery life of mobile products, however nothing major has materialized as of yet.
9To5Mac notes that Apple itself created the problem back in 2015 when it introduced a layer battery structure with the 12” MacBook. The company plans to use metal housing which will eradicate the need of having spacing between the battery and other components.

Lithium-polymer batteries are commonly used as rechargeable batteries to provide power to a variety of electronic devices, including laptop computers, tablet computers, mobile phones, personal digital assistants (PDAs), digital music players and cordless power tools. Lithium-polymer batteries can often include electrodes and electrolyte sealed in an aluminized laminated pouch. These pouch batteries can be used in space-constrained portable electronic devices such as mobile phones, laptop computer, and/or wearable devices.
The sealed edges of the pouch battery can result in excess pouch material and the pouch can have a positive voltage that requires the exterior surface of the pouch to be isolated from conductive surfaces in the electronic device. To accommodate the excess pouch material and isolate the conductive surface of the pouch battery, the pouch battery needs to be smaller than the area provided in the electronic device, resulting in wasted space. This is especially important in space-constrained portable electronic devices, where space is at a premium and the devices are commonly designed to accommodate the largest batteries possible.
The problem stated above is to solved by the following solution, as stated by Apple in the patent-
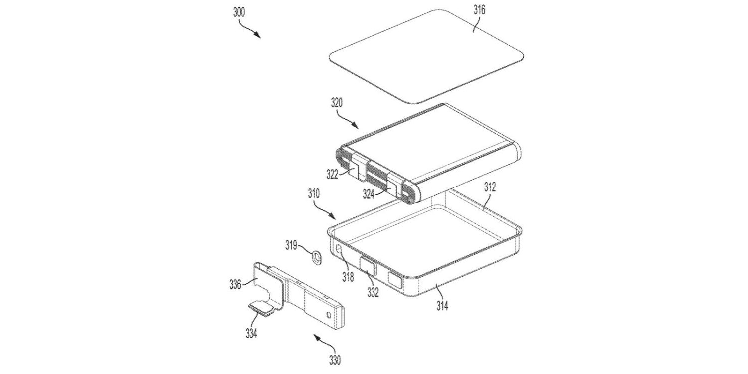
This disclosure describes various embodiments that relate to an improved battery for reducing space between the battery and electronic components in an electronic device. In some embodiments, a battery can include a rigid or semi-rigid housing contacting components in an electronic device.
For example, in some embodiments the battery includes an electrode and cathode surrounded by a metal housing. The battery can be sized to optimize the available space in the electronic device without the need for spacing between the battery housing and other components in the electronic device. In some embodiments, the metal housing can be connected to a common ground, to allow other components to contact the battery housing without causing a short circuit or corroding the components.
Additionally, the metal housing can be used as a structural element in the electronic device. For example, brackets can be attached to the metal housing or a flange between two housing pieces can be using as an attachment point.












