According to a report from a German website, Deutsch Telekom will begin to offer preorder tickets for the next-generation iPhone today. The tickets will guarantee access to the new device on the day of release, without having to stand in line, a process the carrier used last year during the iPhone 4S launch.
[via 9to5 Mac]

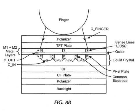
Following rumors that Apple plans to incorporate thinner touchscreens in upcoming devices, the company was awarded a patent today for in-cell screen technology. Unlike traditional touchscreens that place touch-sensitive elements between two pieces of glass, this method incorporates touch sensors directly into the LCD, reducing thickness while improving the screen’s appearance.
[via AppleInsider]
The Palo Alto home of late Apple CEO Steve Jobs was burglarized on July 17, according to a just-discovered police report. Kariem McFarlin of Alameda, CA is alleged to have stolen over $60,000 worth of “computers and personal items,” which would raise questions regarding potential exploitation of the legendarily secretive Jobs’ personal files.












