MacObserver has discovered that Apple yesterday filed a patent for a “graphical user interface and methods of use thereof in a multimedia player.” The following is an abstract from the patent application.
“In a portable multimedia device, a method, apparatus, and system for providing user supplied configuration data are described.

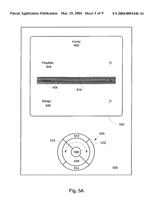
In one embodiment, a hierarchically ordered graphical user interface are provided. A first order, or home, interface provides a highest order of user selectable items each of which, when selected, results in an automatic transition to a lower order user interface associated with the selected item.
In one of the described embodiments, the lower order interface includes other user selectable items associated with the previously selected item from the higher order user interface.”












