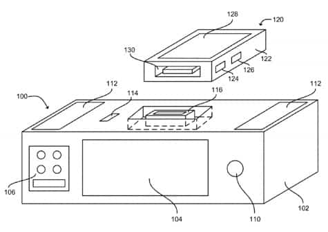
A just-published Apple patent has revealed plans for a “smart dock” that would allow users to interact with a docked iOS device through voice recognition. The dock would actively listen for audio cues in order to communicate with the docked device — the device’s voice recognition mode would then be activated.

Therefore, Siri could be used without physically interacting with the docked iPhone, iPad, or iPod. Some embodiments of the dock include a device with storage media, a GPS receiver, and/or environmental sensors.
An in-car implementation would make a lot of sense, as well. [via Apple Insider]
.











