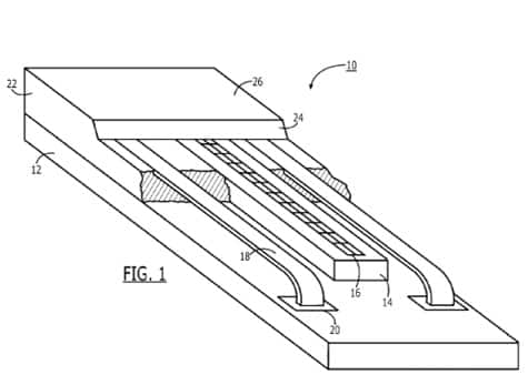
A recently published Apple patent shows that the company is exploring a fingerprint scanner that can be included in a conductive bezel on a device. In the described invention, the user would swipe his or her finger over a surface of a sensor.
The sensor would capture “thin strips” of a fingerprint during the swipe; the complete fingerprint would then be “assembled in software for use in authentication.”

It’s unclear which bezel the sensor would be on, and whether it would be a visible or hidden feature. There has been speculation that Apple’s upcoming iPhone 5S will include a fingerprint scanner, most frequently believed to be embedded within the Home Button, but this patent suggests that other locations on the device are possible and potentially even preferable as flat, swipe-ready surfaces.
It’s unknown whether the technology will make it into Apple’s next device, or future devices. [via Patently Apple]
.











