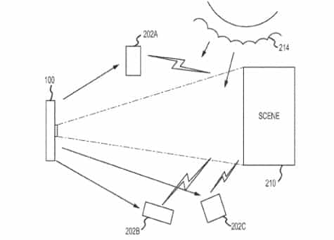
A newly published Apple patent application reveals a system whereby one iOS device could control the flashes on other devices to better light a scene for photos. The method would allow an iPad, iPhone or iPod touch to use the flashes on multiple other iPhones, for instance, by initiating a master-slave connection.
A signal can be sent from the primary device to the secondary devices to adjust timing, intensity, duration, or flash angle.

As described in the filing, instructions sent from the primary device could be displayed as text on the secondary device’s screen.
The devices could also be paired using Bluetooth to trigger the flash at the right time. [via Apple Insider]
.











