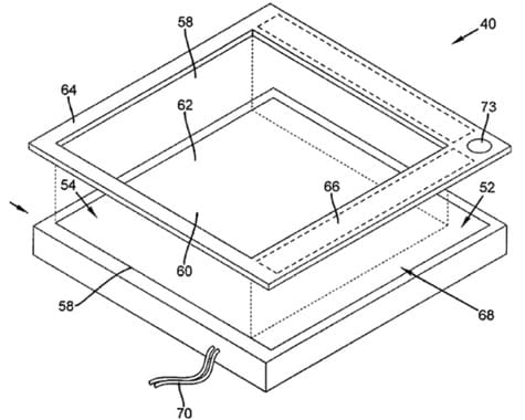
Apple was granted a patent for a touch-sensitive bezel that could act as another form of input on a device.
The filing details a method in which a display screen would be accompanied by a bezel that covers “a second portion of the active area.”

Sensors would recognize when the bezel is about to be used for input.
The appearance of the bezel could be adjusted so control functions could become visible upon use, by changing the transparency of the active area; buttons hidden below the bezel could conceivably begin to glow as fingers approach.












