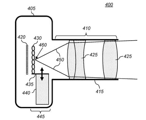
Apple has been awarded a patent for a digital camera with a refocusable mode, much like the Lytro light field camera, which is sold in Apple’s store. The invention’s description notes that “preferably” the camera would be a portable battery operated device that can include other functions, like an iPhone, rather than a standalone product.

Apple’s design would allow users to only use the light field capabilities if desired, by switching between a high-resolution non-refocusable mode and low-resolution refocusable mode using an adaptor. iLounge examined the possibilities of Apple using light field photography in future devices last May; Lytro met with late Apple CEO Steve Jobs before his death, and reportedly discussed the prospect of an acquisition or incorporation of the technology into iPhones.
[via Apple Insider]
.











