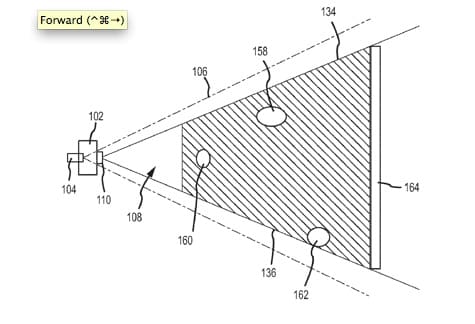
An Apple patent application published today reveals a laser-based depth perception system that could be used to create a virtual keyboard. The system described in the patent would use an image capturing device and a laser source that would “emit a fan shaped laser beam” to capture depth.

A “projected control panel” is described as a possibility, as the system could create a virtual keyboard that would determine the depth of “a user’s finger, a stylus, or other input mechanism.” An autofocus camera feature would also be a possibility using this system. It’s noted that the technology could be implemented in a computer, tablet, or mobile device, and the iPhone is referred to specifically by name.
[via Apple Insider]
.











