Apple changes policy to force developers to go through App Review to edit URLs, ‘What’s New’ text
According to a policy update from Apple, developers will soon no longer…
Apple thought to have two-year lead in 3D smartphone sensors
Most android devices won’t have 3D sensors comparable to this in the…
Leaker’s latest photo shows ‘Blush Gold’ iPhone X he claims is in production
Well-known Apple product leaker Benjamin Geskin has posted photos of a “Blush…
Democrats interested in Apple’s download records on Trump administration officials
A memo released last week by Democrats on the House Intelligence Committee…
Report: Apple developing its own MicroLED screens in secret California manufacturing facility
For the first time, Apple is developing its own MicroLED screens for…
Apple expands ‘Apple Music for Artists’ beta, reveals new iTunes promotional graphics
Apple Music has announced an expansion of the “Apple Music for Artists”…
France taking action against Apple for ‘abusive commercial practices’ over app developer agreements
The French government is taking legal action against Apple and Google over…
HomeKit-compatible ecobee Switch+ smart light switch available for pre-order, ships at end of March
The much-hyped ecobee Switch+ smart light switch will be landing in stores…
Apple manufacturing partner building new assembly site in India
Apple manufacturing partner Wistron has secured the land to build a new…
Ultimate Ears debut new waterproof Wonderboom portable speakers
Ultimate Ears has added the new waterproof Wonderboom speaker ($100) to its…
Apple updates MFi program with with specs for new Lightning audio cable, USB-C port
Apple has added specifications for USB-C ports and a Lightning to 3.5mm…
Apple orders animated series from ‘Bob’s Burgers’ creator
Apple has added a comedy cartoon to its slate of upcoming TV…
Report says new iPad Pro could feature slim bezels, Face ID; throws cold water on iPhone SE update
A new report from the Economic Daily News backs up previous rumors…
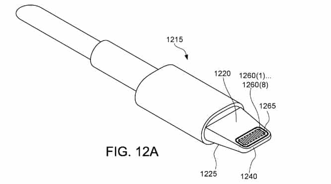
Pair of patents provide look at waterproof Lightning connector, crumb-proof keyboard
A pair of patents show Apple’s interest in improving the seals on…
Amazon brings Alexa calling and messaging features to the iPad
Amazon has expanded access to its Alexa calling and messaging options to…
Apple acquires digital magazine subscription service Texture
Apple has announced a deal to acquire digital magazine subscription service Texture…
Barclays claims AirPods with improved noise canceling features coming next year
Speculation has been ramping up around when we’ll see the next generation…
Studies verify smartband for the Apple Watch can detect high potassium, atrial fibrillation symptoms
A couple of studies have shown it’s possible to use AliveCor’s EKG-monitoring…
